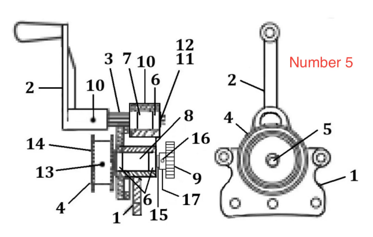
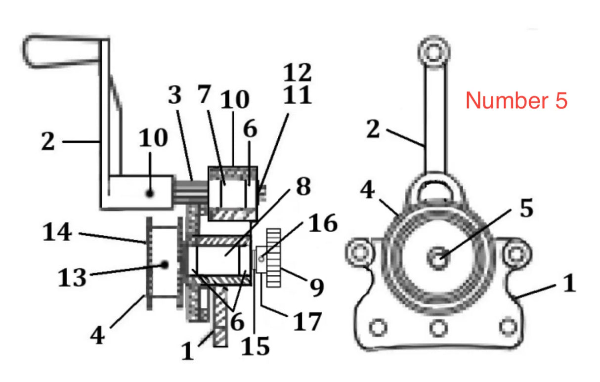
The Mathey Dearman Axle, Crank Gear 8SA - 03.0108.011 is a precision-engineered, heavy-duty component designed to provide reliable support and efficient power transmission in 8SA systems. This axle is specifically built for use with crank gears, ensuring smooth, stable operation and consistent performance in industrial applications such as pipe handling, conveyors, and other heavy-duty machinery.
Crafted from durable materials, the Mathey Dearman Axle, Crank Gear 8SA reduces wear and tear on equipment, extending the lifespan of your machinery while improving overall system efficiency and performance under demanding conditions.
- Precision-engineered for secure support and power transmission with crank gears in 8SA systems.
- Heavy-duty construction designed to withstand industrial environments and heavy loads.
- Ideal for use in pipe handling systems, conveyors, and mechanical systems.
- Reduces wear and tear, improving equipment longevity and reducing downtime.
- Ensures smooth, reliable operation under heavy-duty conditions.
- Axle for crank gear 8SA.
- Installation instructions for secure setup.

