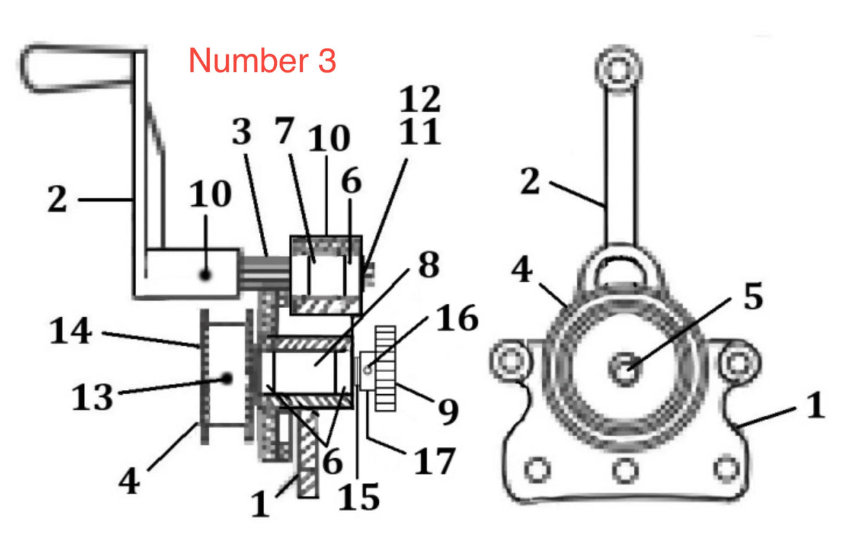
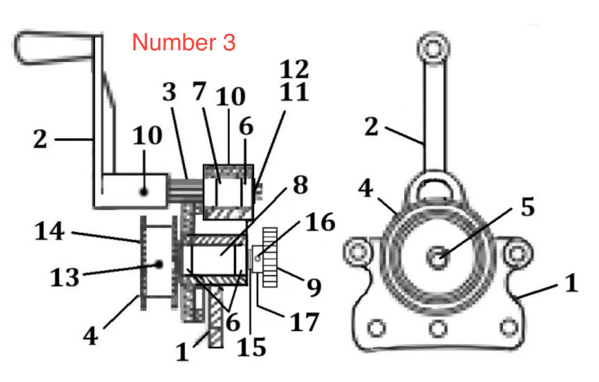
The Mathey Dearman Pinion Crank, 5 & 6 SA - 03.0105.012 is a precision-engineered, high-strength component designed to provide efficient power transmission and smooth operation in mechanical systems. Specifically designed for use in 5SA and 6SA systems, this pinion crank ensures reliable torque transfer and enhances overall system performance, making it ideal for pipe handling, conveyors, and other heavy-duty industrial applications.
Built from durable materials, the Mathey Dearman Pinion Crank is designed to withstand the demands of industrial environments, reducing wear and tear while extending the lifespan of your machinery.
- Precision-engineered for reliable torque transfer and smooth operation in 5SA and 6SA systems.
- Durable construction to withstand demanding industrial environments.
- Ideal for use in pipe handling systems, conveyors, and mechanical machinery.
- Reduces wear and tear, enhancing the longevity of equipment.
- Provides consistent torque transfer for reliable operation.
- Pinion crank for 5SA and 6SA systems.
- Installation instructions for secure setup.

